Комментарии

Читайте также:

У геймеров тряска: из разделов сайта о GTA 6 стала пропад?...

У геймеров тряска: из разделов сайта о GTA 6 стала пропадать информация о дате выхода.

Через три дня соберутся акционеры Take-Two. В сети пишут, что игру перенесли на сентябрь 2026-го.

Вероятно, перенос действительно произойдет, но надеемся, хотя бы игра выйдет в готовом виде, как положено у Rockstar, а не в пре-альфа версии, типичной для современной игровой индустрии.

У геймеров тряска: из разделов сайта о GTA 6 стала пропад?...
У геймеров тряска: из разделов сайта о GTA 6 стала пропад?...
У геймеров тряска: из разделов сайта о GTA 6 стала пропад?...
У геймеров тряска: из разделов сайта о GTA 6 стала пропад?...

Она без хиджаба: модерация Steam отказалась публиковать ?...

Она без хиджаба: модерация Steam отказалась публиковать игру из-за обложки с девушкой в закрытом купальнике.

Инди-студия Aftermath Studios столкнулась с синдромом вахтера: модераторы Steam заблокировали страницу их хоррор-выживалки Red Pine Lake из-за промо-постера. Модерация посчитала это "слишком взрослым", заявив, что "фокус на женских ягодицах, который по умолчанию сексуален, независимо от одежды". В общем, сестра, где твой хиджаб?

Соевые снежинки проникли и в Steam.

Она без хиджаба: модерация Steam отказалась публиковать ?...
Она без хиджаба: модерация Steam отказалась публиковать ?...
Она без хиджаба: модерация Steam отказалась публиковать ?...

"Патент на покемонов" заставят пересмотреть. Директор...

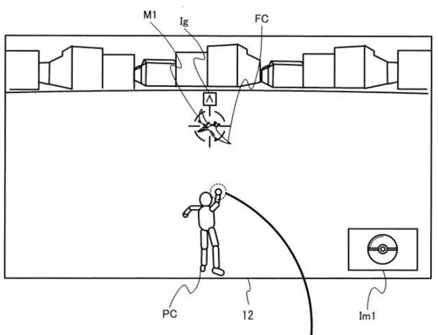
"Патент на покемонов" заставят пересмотреть.

Директор Ведомства по патентам и товарным знакам США лично запросил пересмотр патента Nintendo на «призыв персонажа и возможность его сражения с другими» (патент на покемонов).

В прошлый раз его личное вмешательство требовалось больше 10 лет назад - оказалось, этот патент уж очень сильно пересекается с двумя другими: первый был выдан Konami в 2002 году и подразумевал сражение доп. персонажа вместе с главным либо автоматически, либо вручную, а второй и вовсе принадлежит самой Nintendo с 2020 и описывает сражение доп. персонажем в паре с главным.

Сама выдача Нинтендо подобного патента вызвала крайне негативную реакцию как обычных игроков, так и компаний и даже профессиональных юристов: они нашли в этом патенте и его одобрении кучу нарушений, а саму патентную систему "провальной". В Японии, к слову, Nintendo сразу отказали.

У конторы оптимистов траур, и даже взятки ("лоббирование") не помогло в борьбе с Palworld.

Японская молодежь отказывается от секса. В стране рек...

Японская молодежь отказывается от секса.

В стране рекордно низкая рождаемость и натуральный анти-секс бум: около 50% людей остаются девственниками до 25 лет, а около 10% не имели сексуального опыта к 30 годам.

Виноваты, как обычно, порно и видеоигры:
— "Фитосексуальность" — 14-17% японцев заявили, что испытывали влечение или романтические чувства к персонажам аниме или видеоигр;
— Японцы любят смотреть порнуху, что делает ожидания от секса "нереалистичными". Еще больше они любят смотреть хентай - и да, его назвали еще большим врагом ожиданий от секса;
— Контрацептивы стоят довольно дорого (правда, раньше их не было вообще, но сексу это не мешало).

Реальная причина скорее всего в отсутствии жилья - оно в стране невероятно дорогое, и при этом очень маленькое, а затраты на ребенка просто неподъемные. Но с этим-то трудно бороться, и деньги тратить надо, а вот порно запретить вообще бесплатно.

Японская молодежь отказывается от секса.
В стране рек...
Японская молодежь отказывается от секса.
В стране рек...
Еще посты

Свежие комментарии